李铁妻子被曝拒退巨额赃款,准备离婚!
李铁妻子被曝拒退巨额赃款,准备离婚!
1 月 9 日晚,反腐专题片《持续发力 纵深推进》播出,收视率力压《繁花》收获更多关注。这一集中披露了中国国家男子足球队原主教练李铁等足球领域系列腐败案,引发网友关注。有媒体报道其涉案金额超 2.7 亿元,并且牵扯多位足球相关人员。
据报道,李铁的妻子龙菲在李铁被带走调查后不准备退还赃款,并准备和李铁离婚。此前也曾有消息传出,李铁妻子早已前往美国。
作为中国国家男子足球队原主教练,李铁除了执教期间行贿受贿的非法收入所得外,其个人的商业版图也极其庞杂且均与体育关联密切。
2020 年李铁调任国家队主教练后,依旧和武汉卓尔俱乐部签订了劳动合同,年薪税后 3000 万,且还有 3000 万的签字费,分五年支付。而根据 2013 年我国足球协会的规定,国字号教练是不允许在俱乐部兼职的。
除了在国家队执教时期的敛财,李铁还将沈阳的公益 8 号公园常年据为己有,通过建造青少年足球训练场和出租承办体育活动,每年营业额高达数千万。根据李铁 8 号足球公园微信官网账号,其运营主体为沈阳李铁足球俱乐部有限公司,该公司的法定代表人为李铁妻子龙菲,李铁在该企业担任执行董事。
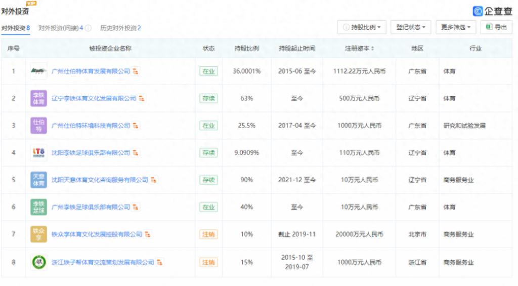
根据记者检索某查查信息显示,李铁对外投资 8 家公司,其中目前有 2 家注销,6 家存续。
李铁个人分任辽宁李铁体育文化发展有限公司和沈阳李铁足球俱乐部有限公司两家公司的执行董事一职。而其妻子龙菲则在李铁持股投资的 3 家公司中分任经理和执行董事一职,并担任法定代表人。而这些公司均与体育相关,涵盖足球培训、球员经纪与场馆运营等各个环节。

李铁对外投资企业信息。

龙菲担任李铁投资公司的法人。
此外,因此前 " 民间借贷纠纷 ",李铁曾两度卷入司法案件中,涉及金额达 39 万余元。
如今的李铁,在反腐专题片中表示:" 我是非常后悔的,还是要踏踏实实,也要走正路 "。
-
- 酒店房间暗藏摄像头?广东拟出新规要求旅馆定期检查
-
2024-01-17 06:45:48
-
- 金融反腐新消息!郝刚被“双开”,涉嫌受贿、洗钱犯罪
-
2024-01-17 06:43:32
-
- 打车2公里,收费50元?官方通报→
-
2024-01-17 06:41:16
-
- 最强加价王易主!丰田世极SUV国内现身:车价198万、加价170万
-
2024-01-17 06:39:01
-
- 停播3个月变1个月!俞敏洪回应主播天权提前复出
-
2024-01-17 06:36:45
-
- 美国年轻人纷纷搬离城市,涌入“最无聊地区”
-
2024-01-17 06:34:29
-
- 美英打击胡塞武装之时 欧盟两大国却在红海问题上悄悄内讧!
-
2024-01-17 06:32:13
-
- 铭凡推UH185 Ultra迷你主机:英特尔酷睿 Ultra 9 185H处理器
-
2024-01-15 15:41:17
-
- AMD锐龙8040性能首秀
-
2024-01-15 15:39:01
-
- 小天才外耳佩戴 E5 无线蓝牙儿童耳机发布,售价 499 元
-
2024-01-15 15:36:45
-
- 全新联想拯救者 Y7000P 笔记本预热:可选 i7-14700HX 处理器
-
2024-01-15 15:34:28
-
- 江苏淮安一小区发生刑案致3死!警方:情感纠纷引发
-
2024-01-15 15:32:12
-
- 公安部:目前全国机动车和驾驶人分别达4.35亿辆、5.23亿人
-
2024-01-15 15:29:56
-
- 美日韩发表“印太对话”联合声明,外交部回应
-
2024-01-15 15:27:39
-
- 荣耀多款老机型升级支持 MagicOS 8.0“任意门”功能
-
2024-01-15 15:25:23
-
- 20万以内也能用上激光智驾 零跑发布独创NAC辅助驾驶系统
-
2024-01-15 15:23:07
-
- 2024 最新版全国铁路线路图公布,4.5 万公里高铁通达八方
-
2024-01-15 15:20:51
-
- 250亿软件大厂,发愁年终奖
-
2024-01-14 14:11:58
-
- 内蒙古男子“酒后打死妻子”背后:家暴认定与量刑之争
-
2024-01-14 14:09:42
-
- 一线城市房租下行,降千元找不到租客
-
2024-01-14 14:07:26



芬兰人为什么是黄种人,为什么地处北欧的芬兰人长得像中国人
南宁铁路局集团领导班子成员